
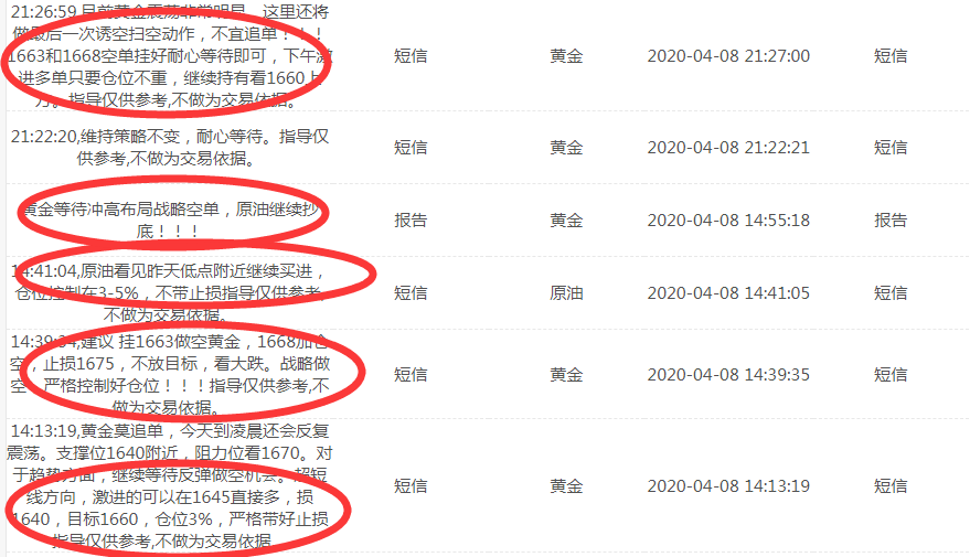
对于黄金的看法,我们维持昨天策略不变。不过明天就是复活节,市场休市,要跌的话,今晚一定是暴跌,否则熬过今晚,随着周线的收高,下周有可能继续测试1700关口。
所以操作上,黄金1663空单已经进场,持仓不动即可,遇到拉高1668加仓空,严格止损1675,不放目标,持仓到凌晨2点,如果不跌,直接出局,大跌则持仓过周末!!!
至于原油方面,晚间欧佩克会议来袭,不排除会议推动再次探底,所以隔夜已经进场多单则可减仓或者直接出局,等待再次回落23-23.5区域抄底,仓位依旧是3-5%,不必带止损!!!
(投资有风险,入市需谨慎;以上建议仅供参考,据此操作盈亏自负)









