首页
文章详情
图标图标

金界传奇:黄金第一目标位1506兑现,反手短空!

金界传奇金界传奇2019-10-31 18:52:37

QQ截图20191031183625.png


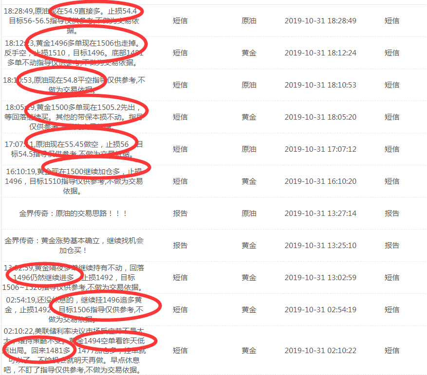
今天黄金继续如期上行,上方已经触及我们第一目标位1506,不过短线有受阻迹象,现在行情倾向于回落为主。下方关注1500整数关口支撑,如若失守,那么将进一步继续测试1496附近。但是整体势头向上不变,回落后仍以继续逢低买进为主。

所以操作上,隔夜黄金1481多单继续持有不动,1496多单以及1500多单全部在1506出局,反手做空,下方目标位先看1500整数关口,下破再看1496离场。如不能跌破1500整数关口,那么届时注意出空,继续买进。博客分析只是个大致思路,实盘策略以临盘提示为准!!!

至于原油方面,维持白天分析不变,不破54.5则继续看反弹,跌破则看震荡回落。

所以操作上,欧盘我们在55.45精准狙击空单,已经在54.8获利出局。现在建议55.9反手买进,上方目标位看56~56.5出局。如无法突破57关口,则继续布局空单!!!


(投资有风险,入市需谨慎;以上建议仅供参考,据此操作盈亏自负)


QQ截图20191031184611.png